Peak Design publicly calls out Amazon for making their Everyday Sling knockoff
Mar 4, 2021
Share:

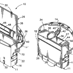
If you’ve seen Peak Design’s Everyday Sling and this camera bag from Amazon Basics, perhaps you’ve noticed that they’re very similar. And so did Peak Design. In fact, they think that Amazon’s bag is so similar that they decided to publicly call them out in a tongue-in-cheek video.
Peak Design published a video on YouTube named A Tale of Two Slings, claiming that the Amazon bag looks “suspiciously like the Peak Design Everyday Sling.” The difference is, of course, the price: Peak Design’s Everyday Sling retails at $80, while Amazon’s version costs $35. So why is Amazon’s version so much cheaper?
Well, as Peak Design points out, “you don’t have to pay for all those needless bells and whistles” if you buy the Amazon bag. There are no “years of research and development, recycled bluesign-approved materials, a lifetime warranty, fairly paid factory workers, and total carbon neutrality.”
It’s funny that the Amazon Basics bag even shares the same name as the one from Peak Design. Or at least it did because it seems that it got changed in the meantime.


While the video is light-hearted and funny, Peak Design went on a slightly more serious note in the description.
“Amazon is one of Peak Design’s biggest partners. We’ve been selling Peak Design products on Amazon for years, and we work closely with Amazon to remove counterfeit and copycat products from their marketplace. Hence, we were astonished when we found out Amazon had copied one of our bestselling bags. They call it the “Everyday Sling,” which, funny enough, is exactly what we call our product.
Amazon is a revolutionary service that we use and benefit from heavily. Also, Peak Design is not the first brand to see their products copied by an Amazon in-house brand. If we were really serious people, we might get on our soapbox and pontificate about the pitfalls of capitalism. But we’re not really serious people. So we got some googley-eye glasses (thanks Amazon Prime!) and made this video instead.
It’s our goal to make the best things. If we tried to make the cheapest things, we wouldn’t be us. Amazon reminded us of that. We appreciate the pep talk, Amazon.
Know what we really appreciate? Our customers. Thank you for supporting intense, obsessive design that focuses on novel solutions to real problems. Thank you for supporting design practices that account for a product’s lifecycle, and it’s external impact on people and the planet.”
We’ve seen all sorts of rip-offs in the photo world. Some of them even involved lawsuit threats. Funnily enough, even Peak Design was sued for patent infringement back in 2015. Gura Gear claimed that Peak Design ripped off a number of features with their Everyday Messenger Bag. However, that lawsuit was quickly settled and the case was closed.
[via DPReview]
Dunja Đuđić
Dunja Djudjic is a multi-talented artist based in Novi Sad, Serbia. With 15 years of experience as a photographer, she specializes in capturing the beauty of nature, travel, concerts, and fine art. In addition to her photography, Dunja also expresses her creativity through writing, embroidery, and jewelry making.




































Join the Discussion
DIYP Comment Policy
Be nice, be on-topic, no personal information or flames.
10 responses to “Peak Design publicly calls out Amazon for making their Everyday Sling knockoff”
Can you buy the bag from Amazon UK? Or is it USA only?
So are they going to sue? It’s so blatant it’s not even funny.
The Amazon bag you’ve linked to in the story looks nothing like this picture
If they couldn’t or neglected to patent the design (or get a trademark for the “Everyday Sling” label) put on the big boy pants, there’s not much to snivel about. Lots of camera bags and packs barely differ in “basic” design but differ in materials and thoughtful features – market those.
This is the bag I see on Amazon US. Looks like the one pictured. Don’t know if this is location specific.
How is this any different than when Walmart’s Equate brand copies Pantene Pro-V shampoo? Or when Walmart makes their own version of Kraft Mac and cheese?
Oh no! Some one else made a large fanny pack!
Anyone can make anything and offer it for sale on Amazon
Calling out Amazon is a click-bait headline
Its being sold under Amazon’s Amazon Basic label. Which means it is Amazon doing the copying, not a 3rd party reseller.
Amazon is doing the seliing – but who acually copied the design and made the product is probably not amazon